Каталог дверных доводчиков

Инcтрукции, схемы, описание, характеристики, размеры

  • КАТАЛОГ
  • Выбор
  • Установка
  • Регулировка
  • Поиск доводчика по параметрам
  • Цены
  • Контакты

TITAN T-86D

  • TITAN
  • Доводчики

Доводчик с фиксацией TITAN T-86D

Описание доводчика T-86D:
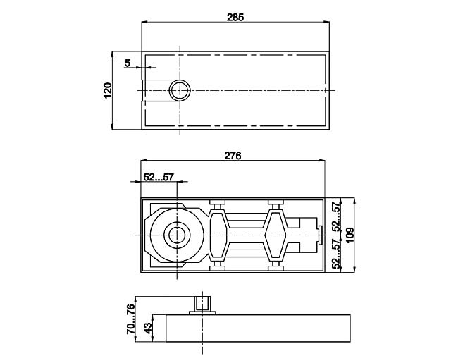
Скрытый напольный дверной доводчик 90 T-86D SSS прекрасно подходит для скрытого монтажа в дорогом магазине, где очень важно создать идеальный интерьер. Данная фурнитура пользуется очень большой популярностью в различных офисах, магазинах, поскольку гарантирует не только плавность хода дверного полотна из закаленного стекла, но и позволяет длительно эксплуатировать данную систему в первозданном виде. Данная модель скрытого напольного дверного доводчика изготавливается с качественной отделкой из матовой нержавеющей стали.

EN 2 — 3
Рекомендуемая ширина двери 750-950 мм,
вес двери до 75 кг;
Наибольший угол открывания 116 °;
2-х диапазонное регулирование скорости.
Зазор между дверью и полом 10-12 мм

Регулировка: высота — 4 мм; ширина — 5 мм; длина — 6 мм.
Точки фиксации открытой двери: 90 градусов.
Две регулировки скорости заключительных фаз
с двумя независимыми винтами.
1-я фаза: 90 -15 градусов.
2-я фаза: 15 — 0 градусов.

Диапазон рабочих температур: -25°С — +45°С
Количество рабочих циклов: 300 000 циклов.

EN2 EN3 TITAN от 40 до 60 кг. от 60 до 80 кг.

Навигация по записям

НОРА-М 2S-F → ← ASSA ABLOY DC 120
  • ABLOY
  • APECS
  • Armadillo
  • ARNI
  • BASTION
  • Diplomat
  • DORMA
  • Elementis
  • EXIT/GF
  • Falcon
  • FARGO
  • Fuaro
  • G-U
  • GCC
  • GEZE
  • GRAND
  • KING
  • MAXBAR
  • NORA-M
  • NOTEDO
  • Palladium
  • PORTER
  • TANTOS
  • TESA
  • TITAN
  • Для Калиток
  • Доводчики
  • Доводчики РБ

Поиск доводчика
podbor_dovodchika




Powered by WordPress | theme Dream Way